电路工作原理 该农用自动水阀门电路由电源电路、检测电路和控制电路组成,如图1 所示。 图1 农用自动水阀门电路(二) 电源电路由电源变压器T、整流二极...
分类:农业自动化 时间:2010-06-18 阅读:5671
电路工作原理 该农用自动水阀门电路由电源电路、检测电路和控制电路组成,如图1 所示。 图1 农用自动水阀门电路(一) 电源电路由电源变压器T、整流二极...
分类:农业自动化 时间:2010-06-18 阅读:6213
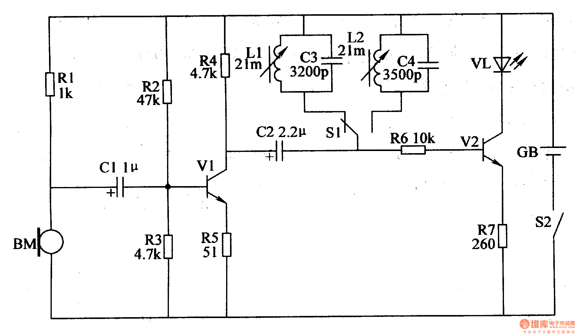
使用播种机播种时,若种子通道被堵塞或种子用完而未及时添加,则会造成空播,从而影响农作物的产量。使用本例介绍的播种机种子通道堵塞报警器,能在播种机的种子通道被堵塞...
分类:农业自动化 时间:2010-06-12 阅读:3520













